






线束是汽车电路的网络主体,没有线束也就不存在汽车电路。在目前,不管是豪华汽车还是普通汽车,汽车线束编成的形式基本上是一样的,都是由电线、接插件和包裹胶带组成。
汽车电线又称低压电线,电线都是铜质多芯软线电线常用规格有0.5、0.75、1.0、2.0、2.5、4.0、6.0等平方毫米,各自都有允许负载电流值。
汽车空调线束
以整车线束为例:
0.5 规格线适用于仪表灯、指示灯、门灯、顶灯等;
0.75 规格线适用于牌照灯、前后小灯、制作灯等;
1.0 规格线适用于转向灯、雾灯等;
1.5 规格线适用于前大灯、喇叭等;
主电源线要求2.5-4.0平方毫米电线。关键是要看负载的最大电流值,例如蓄电池的搭铁线、正极电源线则是专门的汽车电线单独使用,它们的线径有十几平方毫米以上。
汽车主线束
整车主线束一般分为发动机(点火、电喷、发电、启动)、仪表、照明、空调、辅助电器等部分,有主线束及分支线束。
整车主线束往往以仪表板为核心部分,前后延伸。分成车头线束(包括仪表、发动机、前灯光总成、空调、蓄电池)、车尾线束(尾灯总成、牌照灯、行李箱灯)、蓬顶线束(车门、顶灯、音响喇叭)等。
汽车开关线束

线束上各端头打上标志数字和字母,以标明导线的连接对象,操作者看到标志能正确连接到对应的电线和电气装置上,方便修理或更换线束;或者同一个回路用一种电线颜色进行区分。
电线的颜色分为单色线和双色线,颜色的用途一般是车厂自定的标准。
汽车车灯线束

线束表面根据其使用部位不同,采用不同的包扎方式:
发动机线束工作环境恶劣,因此全用高阻燃性、防水、机械强度高的螺纹管包扎。
前舱线工作环境也相对较差,大部分枝干也用阻燃性好的螺纹管包扎,部分分支用PVC管包扎。
仪表线工作空间较小,环境相对较好,可用胶带全缠或花缠。
门线和顶篷线工作空间较小,可用胶带全缠,部分枝干可用工业塑料布包扎;较细的顶篷线可直接用海绵胶带粘在车上。底盘线因与车体接触部分较多,因此用波纹管包扎防止线束磨损。
汽车音响线束

汽车线束基本要求
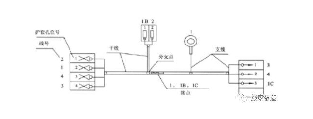
1、线束尺寸应符合下列要求:
干线和保护套管长度宜不小于100mm,并为10的倍数。如:100mm、110mm、120mm等。
支线长度宜不小于30mm。
接点之间,接点与分支点之间距离宜不小于20mm。
电线与端子连接处需装绝缘套管时,绝缘套管长度不得小于20mm。

2、端子与电线连接处的电压降应不大于下表的规定。
端子与电线连接应牢固,在规定的拉力下不应损伤和脱开,其拉力值应不小于下表的规定。

3、接点应符合下列要求:
采用压接方法时,导体不应压断,接点横断面应符合附录A的要求。
采用钎焊的方法时,不允许使用腐蚀性焊剂。焊点应光滑,不允许存在漏焊、未焊透、焊剂夹杂等缺陷。
采用无焊料焊接方法时,焊接处表面不允许出现氧化、断丝、缺损和绝缘层熔化现象。如下图所示,焊接与未焊接的过渡部位a应呈圆弧状,且在b区可见未焊接的导体端部。
接点应牢固,在规定的拉力下不应损伤和脱开,其拉力值应不小于表2规定。
采用无焊料焊接方法时撕裂力应不小于下表的规定。